2025年化妆品新原料备案呈井喷式爆发,彰显了中国美妆行业的创新活力与发展后劲。
据国家药品监督管理局官方数据,2025年我国化妆品新原料备案数量达到169个(另有1个原料未公开)。同比2024年的90个增长87.78%,与备案新政实施初年的2021年(6个)相比,更是实现了超28倍的飞跃。
从月度分布来看,除2月外,全年每月备案量均达到或超过10个,其中5月和12月表现最为突出,各有20个新原料完成备案,平均每月14款的备案节奏,彰显了行业创新的强劲活力。
从原料来源看,2025年植物原料备案数量达到67个,占比39.64%;化学原料备案数量为66个,占比39.05%,与植物原料基本持平;生物技术原料备案数量为32个,占比18.93%;动物原料备案数量仅为4个,占比2.37%。
在植物原料领域,传统中药材与特色植物资源成为开发热点,云南、西藏等生物多样性丰富地区成为重要原料来源。例如,贝泰妮集团备案了白刺花籽提取物、滇牡丹籽油等5款特色植物原料,主打保湿修护功效。与此同时,植物愈伤组织培养技术逐渐普及,如杭州拾光欣雅备案的“昙花愈伤组织提取物”和杭州兰匠备案的“华白及愈伤组织提取物”等,均是通过诱导植物干细胞进行生物反应器扩增,实现珍稀植物原料的合规化、标准化生产。
在化学原料中,高活性、机理明确的单体成分受到追捧。如山东金城生物等企业备案了“吡咯并喹啉醌二钠盐”(PQQ)。作为线粒体优化剂,PQQ从口服领域拓展至外用护肤,主要针对细胞能量代谢与抗衰老市场。南宫28官网以莹特丽为代表的企业,主要布局高分子聚合物。备案中出现的“聚氨酯-42”“聚酯-43”“HDI共聚物”等原料,主要用于底妆和防晒产品。这些高分子材料决定了产品的成膜性、持妆力及光学质感,是解决彩妆产品持久性问题的技术方案。
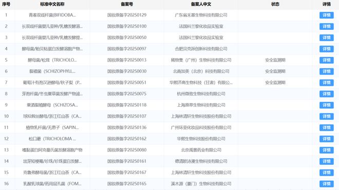
而生物技术原料中,发酵类新原料成为一大亮点,占比接近一半。其备案数也从2024年的4个大幅增长至16个,增幅达275%。此外,因酵母菌/松茸发酵产物滤液等发酵类原料在调节皮肤微生态、改善肤感方面表现突出,欧诗漫、环亚集团、上海家化、华熙生物、林清轩等企业也纷纷布局,美妆品牌成为备案主力。
此外,2025年,以黑水虻幼虫油、鳄鱼油、水解大鲵皮肤黏液为代表的动物原料备案,展示了行业对原料来源的开放性探索,为功效护肤开辟了全新的想象空间。
肽类原料在2025年表现尤为突出,备案数量从2024年的8个跃升至32个,同比增长300%。
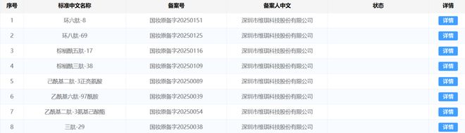
在技术应用上,肽类原料正从传统线性结构向更具优势的环状结构转型,备案列表中出现了双环八肽、环八肽、环六肽等十余款环状结构多肽。其稳定性与透皮吸收能力优于传统线性多肽,主打精准抗老。珀莱雅的双环八肽-68、维琪科技的环六肽-8等均为代表产品。同时化学修饰手段得到更广泛的应用,如“棕榈酰三肽-38”“阿魏酰三肽-129酰胺”等均通过化学修饰增强渗透性与稳定性。
在功效设计上,靶向性成为核心关键词。企业更注重针对皮肤特定通路和靶点开发多肽序列,如丸美生物的乙酰基环(戊二酰六肽-121)四肽-142酰胺、敷尔佳的乙酰基酪氨酰环D-谷氨酰三肽-110酰胺等,让护肤效果更具针对性与可信度。
在企业参与度上,则呈现出“原料商主导、品牌方入局”的多元化格局。2025年深圳维琪、成都凯捷成为肽类原料研发主力,分别备案8个和4个相关原料。同时,珀莱雅、丸美、敷尔佳等品牌企业也积极布局,2025年共有9个多肽原料由品牌方自主备案。
这一现象背后,源于多肽原料的独特优势——结构简单、作用机理清晰、安全性与透明度高,且经过长期市场验证,兼具实用性与创新潜力,因此成为企业打造核心大单品、构建产品差异化的重要抓手。Euromonitor数据显示,中国化妆品多肽原料市场规模由2019年的11.2亿元增长至2024年的21.7亿元,年复合增长率达14.1%,预计2025年达到24.9亿元,到2029年达到46.7亿元,市场前景广阔。
2025年的新原料备案数据,清晰勾勒出中国化妆品行业“本土引领、多元协同”的创新生态。
从地域分布来看,行业创新布局正逐步走向均衡:上海、北京、广东等传统产业聚集地持续巩固高端原料研发优势;云南、西藏、广西等特色资源地区依托本地生物资源,在植物原料开发领域形成核心竞争力;二三线城市则凭借土地、劳动力成本优势,吸引原料企业入驻,成为新的产业增长点。
从备案主体看,本土企业已占据绝对主导地位。83家境内企业共备案148个新原料,占比达87.57%;境外企业备案21个,占比达12.43%。这反映出中国化妆品原料供应链的成熟与自主创新能力的显著提升。
此外,头部美妆集团向上游原料领域延伸的趋势日益明显。贝泰妮、华熙生物、敷尔佳、丸美、上海家化、珀莱雅、林清轩等企业纷纷布局新原料,如2025年12月底刚上市的林清轩在去年就备案了3款原料。他们通过构建核心原料壁垒,以强化产品的科技属性与差异化竞争优势。
同时,备案主体的多元化趋势也为行业注入了新活力,中国科学院成都生物研究所等高校科研院所、山东福牌阿胶等医药健康与食品领域的跨界企业纷纷入局,南宫28官网推动跨领域知识、技术与资源的深度融合,让原料创新的思路更加开阔。
2025年的新原料备案数据反映出化妆品原料创新正从单一成分获取,走向多技术融合的系统性创新阶段。
行业在功效宣称日趋精准与机理化,原料开发更注重明确的作用靶点与科学实证;技术路径交叉融合,生物技术、化学合成与植物培养等方法互为补充;产业链协同意识增强,品牌、原料商、科研院所共同参与创新,推动研发到应用的快速转化,逐步构建以自主知识产权为核心的产业生态。
总体来看,2025年化妆品新原料备案的爆发,彰显了中国化妆品行业的创新活力与发展后劲。未来,如何在快速创新中平衡安全与效率,仍是行业需要持续探索的关键命题。
特别声明:以上内容(如有图片或视频亦包括在内)为自媒体平台“网易号”用户上传并发布,本平台仅提供信息存储服务。
轰40+11+7创纪录!亚历山大完压字母哥强到发紫 MVP概率已升至75%
1.98m的布朗为全明星美国队首发最高,和世界队首发最矮的SGA一样高
女子携带2枚子弹进入高铁站,其中1枚仍具击发可能性,被铁路警方当场查获!经查询为女子祖父遗物,不小心误带
今年没有大年三十,什么时候贴春联最好?这4件事要早知道,别不当回事,图个吉利!
华硕带来ROG Strix Morph 96游戏键盘:机械轴体,支持三模连接
